
一、壓縮空氣流量計概述:

產品的種類和適用范圍
LUGB/E系列滿管型渦街流量儀表
LUGB/E系列插入型渦街流量儀表
LUGB/E型渦街流量儀表廣泛適用于石油、化工、冶金、熱力、紡織、造紙等行業對過熱蒸汽、飽和蒸汽、壓縮空氣和一般氣體(氧氣、氮氣氫氣、天然氣、煤氣等) 、水和液體(如:水、汽油、酒精、苯類等)的計量和控制.
壓縮空氣流量計工作原理:
在流體中設置非流線型旋渦發生體(阻流體),則從旋渦發生體兩側交替地產生兩列有規則的旋渦,這種旋渦稱為卡曼旋渦,如圖(一)所示。

圖(一)
在旋渦發生體下游形成交替有規律的旋渦列。設旋渦的發生頻率為f,被測介質來流的平均速度為V,旋渦發生體迎流面寬度為d,根據卡曼渦街原理,有如下關系式:
f=StV/d 公式(1)
式中:
f-發生體一側產生的卡門旋渦頻率HZ
St-斯特勞哈爾數(無量綱數)
V-流體的平均流速 (m/s)
d-旋渦發生體的寬度 (m)
由此可見,通過測量卡曼渦街分離頻率便可算出瞬時流量。其中,斯特羅哈爾數(St)是無因次未知數,
圖(二)表示斯特勞哈爾數(St)與雷諾數(Re)的關系。

圖(二)
在曲線表中St=0.17的平直部分,漩渦的釋放頻率與流速成正比,即為渦街流量傳感器測量范圍度。只要檢測出頻率f就可以求得管內流體的流速,由流速V求出體積流量。所測得的脈沖數與體積量之比,稱為儀表常數(K),見式(2)
K=3600f/Q(1/m?) 公式(2)
式中:K=儀表常數(m-3)。
f=脈沖個數
Q=體積流量(m?)
三、壓縮空氣流量計產品優勢:
▲不受溫度、壓力的影響,同時不易堵,不易卡,不易結垢,耐高溫、高壓。
▲安全防爆,適用于惡劣環境。
▲無可動部件、無空洞縫隙設計,產品無磨損、耐臟污,無需機械維修,使用壽命長。
▲電池供電的現場顯示型流量計,可不斷電運行兩年以上。
▲穩壓補償一體化設計。
▲電流輸出均為電隔離型,具有良好的共模干擾抑制能力。
▲同時顯示流量值與累計流量值,不必輪流切換。
▲抗振探頭,有效消除外界振動影響。
▲電路采用表面貼裝工藝,結構緊湊,可靠性高。
▲分體式信號轉換器,電纜最長10米。
▲量程比寬達20:1。
▲整體結構設計合理,動態測量范圍寬,壓力損失小。
▲分體式渦街流量計采用不銹鋼材質,可適用于腐蝕性介質的測量。
▲現場液晶顯示,脈沖、4-20mA輸出或485通訊,可與工業自動化系統連接。
技術參數:
表(一)
公稱通徑(mm) | 15、20、25,40,50,65,80,100,125,150,200,250,300,(300~1000插入式) |
公稱壓力(MPa) | DN15-DN200 4.0(>4.0協議供貨),DN250-DN300 1.6(>1.6協議供貨) |
介質溫度(℃) | 壓電式:-40~150,-40~260,-40~330;電容式: -40~400,-40~500(協議訂貨) |
本體材料 | 1Cr18Ni9Ti,(其它材料協議供貨) |
允許振動加速度 | 壓電式:0.2g 電容式:1.0~2.0g |
精確度 | ±1%R,±1.5%R;插入式:±2.5%R, |
范圍度 | 1:6~1:30 |
供電電壓 | 傳感器:DC +12V,DC +24V;變送器:DC +12V ,DC +24V;電池供電型:3.6V電池 |
輸出信號 | 方波脈沖(不包括電池供電型):高電平≥5V,低電平≤1V;電流:4~20mA |
壓力損失系數 | 符合JB/T9249標準 Cd≤2.4 |
防爆標志 | 本安型:ExdⅡia CT2-T5隔爆型:ExdⅡCT2-T5 |
防護等級 | 普通型IP65 潛水型 IP68 |
環境條件 | 溫度-20℃~55℃,相對濕度5%~90%,大氣壓力86~106kPa |
適用介質 | 氣體、液體、蒸汽 |
傳輸距離 | 三線制脈沖輸出型:≤300m,兩線制標準電流輸出型 (4~20mA) ≤1500m;負載電阻≤750Ω; RS485/HART≤1200m. 選型對照表 |
儀表口徑 (mm) | 液體 | 氣體 | ||
測量范圍 (m3/h) | 輸出頻率范圍 (Hz) | 測量范圍 (m3/h) | 輸出頻率范圍 (Hz) | |
15 | 0.3~5 | 35~600 | 2.2~20 | 260~2000 |
20 | 0.6~10 | 29~420 | 4~36 | 210~1900 |
25 | 1.2~16 | 25~336 | 8.8~55 | 190~1140 |
32 | 1.8~20 | 18~264 | 10~150 | 156~1080 |
40 | 2~40 | 10~200 | 27~205 | 140~1040 |
50 | 3~60 | 8~160 | 35~380 | 94~1020 |
65 | 4~85 | 6~120 | 35~800 | 94~940 |
80 | 6.5~130 | 4.1~82 | 86~1100 | 55~690 |
100 | 15~220 | 4.7~69 | 133~1700 | 42~536 |
125 | 20~350 | 3.2~57 | 150~2000 | 38~475 |
150 | 30~450 | 2.8~43 | 347~4000 | 33~380 |
200 | 45~800 | 2~31 | 560~8000 | 22~315 |
250 | 65~1250 | 1.5~25 | 890~11000 | 18~221 |
300 | 95~2000 | 1.2~24 | 1360~18000 | 16~213 |
(300) | 100~1500 | 5.5~87 | 1560~15600 | 85~880 |
(400) | 180~3000 | 5.6~87 | 2750~27000 | 85~880 |
(500) | 300~4500 | 5.6~88 | 4300~43000 | 85~880 |
(600) | 450~6500 | 5.7~89 | 6100~61000 | 85~880 |
(800) | 750~10000 | 5.7~88 | 11000~110000 | 85~880 |
(1000) | 1200~1700 | 5.8~88 | 17000~170000 | 85~880 |
>(1000) | 協議 | 協議 | ||
表(三) 常用氣體介質的標準狀態密度(0℃,絕壓P=0.1MPa)
氣體名稱 | 密度(kg/m3) | 氣體名稱 | 密度(kg/m3) |
空氣(干) | 1.2928 | 乙炔 | 1.1717 |
氮氣 | 1.2506 | 乙烯 | 1.2604 |
氧氣 | 1.4289 | 丙烯 | 1.9140 |
氬氣 | 1.7840 | 甲烷 | 0.7167 |
氖氣 | 0.9000 | 乙烷 | 1.3567 |
氨氣 | 0.7710 | 丙烷 | 2.0050 |
氫氣 | 0.08988 | 丁烷 | 2.7030 |
一氧化碳 | 1.97704 | 天然氣 | 0.8280 |
二氧化碳 | 1.3401 | 煤制氣 | 0.8020 |
二.儀表的安裝設計
儀表的正確安裝是保障儀表正常運行的重要環節,若安裝不當,輕則影響儀表的使用精度,重則會影響儀表的使用壽命,甚至會損壞儀表。
安裝環境要求:
盡可能避開強電設備、高頻設備、強開關電源設備。儀表的供電電源盡可能與這些設備分離。
避開高溫熱源和輻射源的直接影響。若必須安裝,須有隔熱通風措施。
避開高濕環境和強腐蝕氣體環境。若必須安裝,須有通風措施。
渦街流量儀表應盡量避免安裝在振動較強的管道上。若必須安裝,須在其上下游2D處加設管道緊固裝置,并加防振墊,加強抗振效果。
儀表最好安裝在室內,安裝在室外應注意防水,特別注意在電氣接口處應將電纜線彎成U形,避免水順著電纜線進入放大器殼內。
儀表安裝點周圍應該留有較充裕的空間,以便安裝接線和定期維護。
儀表管道安裝要求:
渦街流量儀表對安裝點的上下游直管段有一定要求,否則會影響介質在管道中的流場,影響儀表的測量精度。儀表的上下游直管段長度要求見圖(三) DN為儀表公稱口徑 單位:mm
傳感器上游 | 前后直管段長度 | 傳感器上游 | 前后直管段長度 |
同心收縮 |
| 一個90度 彎頭 |
|
同一平面兩 |
| 不同平面兩 |
|
同心擴管 |
| 調節閥半開 |
|
圖(三)
注:調節閥盡可能不安裝在渦街流量儀表的上游,而應安裝在渦街流量儀表的下游10D處。
上、下游配管內徑應相同。如有差異,則配管內徑Dp與渦街儀表表體內徑Db,應滿足以下關系
0.98Db≤Dp≤1.05Db
上、下游配管應與流量儀表表體內徑同心,它們之間的不同軸度應小于0.05Db
儀表與法蘭之間的密封墊,在安裝時不能凸入管內,其內徑應比表體內徑大1-2mm
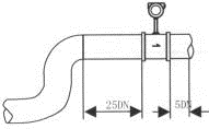
測壓孔和測溫孔的安裝設計。被測管道需要安裝溫度和壓力變送器時,測壓孔應設置在下游3-5D處,測溫孔應設置在下游6-8D處,見圖(七)。D為儀表公稱口徑,單位:mm
儀表口徑的確定和安裝設計 7 |
儀表在在管道上可以水平、垂直或傾斜安裝。
測量氣體時,在垂直管道安裝儀表,氣體流向不限。但若管道內含少量液體,為了防止液體進入儀表測量管,氣流應自下而上流動,如圖(四)a所示
測量液體時,為了保證管內充滿液體,所以在垂直或傾斜管道安裝儀表時,應該保證液體流動方向從下而上。若管道內含少量氣體,為了防止氣體進入儀表測量管,儀表應安裝在管線的較低處
如圖(四)b所示
